Фотографии и чертежи транспорта
Основной боевой танк Т-14
Инженерная машина разграждения ИМР-3М
Як-6
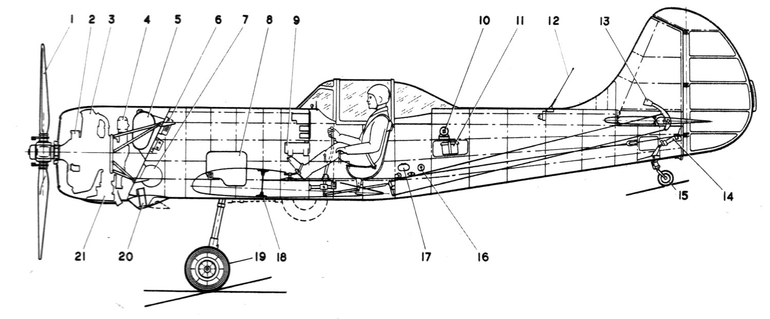
Компоновка Як-50
МиГ E-5
  • 347
  • 348
  • 349
  • 350
  • 351
  • 352
  • 353
  • 354
  • 355
  • 356

Просмотр категорий

  • Забыли пароль?
  • Забыли логин?

Этот день в истории

Нет событий